伟德体育

​伟德体育行政管理权力运行工作流程图

2021-01-22 15:48 作者:本站编辑 审核: 浏览:

-

-

-

-

​伟德体育干部选拔任命工作流程图

​伟德体育公章使用工作流程图

​伟德体育盖章流程图

​伟德体育固定资产购置流程图



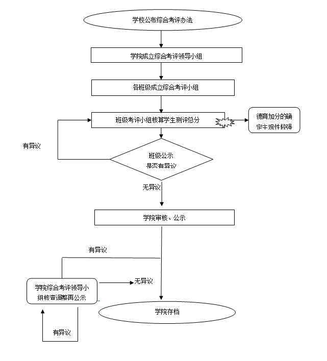
​伟德体育员工综合考评流程图